您所在的位置:下载吧  >  热点资讯  >  手机相关  >  苹果资讯

苹果资讯

  • iPhone 6s发布时间确定 918事变日

    iPhone 6s发布时间确定 918事变日
    近日有关iphone6s各项信息被曝光的新闻报道沸沸扬扬,果粉们亦更加心急难耐。据《福布斯》杂志网络版报道,新一代iPhone6S的发售日期已经被确认为9月18日,而苹果官方为iPhone6S和iPhone6SPlus准备的发布会将在2015年9月11日举行。
    苹果资讯】 2015-07-06
    浏览779次
  • 苹果注册商标文件曝光:iPad Pro运行Mac OS X的节奏

    苹果注册商标文件曝光:iPad Pro运行Mac OS X的节奏
    欧洲专利商标局日前公开了苹果公司的OSXElCapitan商标注册文件。不过外媒在这份文件中发现,OSXElCapitan注册信息和之前看到的OSXMavericks或OSXYosemite的不一样,其中透露了一点非常重要的信息:OSXElCapitan可能会登陆苹果公司旗下的平板产品。
    苹果资讯】 2015-07-04
    浏览381次
  • 越狱工具V 2.3.0发布:集成Cydia新版本

    越狱工具V 2.3.0发布:集成Cydia新版本
    经历过几个越狱版本的更迭,接下来的越狱工具更新应该是朝着增强稳定性的方向前进,而不是修复大量的bug。
    苹果资讯】 2015-07-03
    浏览430次
  • iOS 8.4上装Activator崩溃?下载Beta可修复

    iOS 8.4上装Activator崩溃?下载Beta可修复
    随着iOS8.4越狱的告破,不少用户都对系统进行了重新越狱,但如果你在iOS8.4的越狱设备上安装了Activator的正式版的话,那么设备就可能会出现注销并进入安全模式的情况。
    苹果资讯】 2015-07-03
    浏览239次
  • Cydia 1.1.19 发布:越狱修改对Cydia有效

    Cydia 1.1.19 发布:越狱修改对Cydia有效
    继上周的1.1.18版本后,现在Cydia作者Saurik发布了的1.1.19版本,这是一次重要的更新,因为Cydia的权限已经从root改为了mobile。需要更新的用户前往Cydia刷新就会见到升级提示了。
    苹果资讯】 2015-07-03
    浏览438次
  • 苹果iOS 8.4耗电太快?罪魁祸首是Apple Music

    苹果iOS 8.4耗电太快?罪魁祸首是Apple Music
    苹果iOS操作系统更新出现没几天,广大果粉就已经怨声载道。有报道称,系统更新到iOS8.4后,会加速用户手机耗电,减少电池寿命,而罪魁祸首就是AppleMusic。部分用户反映,更新iOS8.4系统之后,手机在短短一个小时之内耗电60%。而其他人也表示,与iOS8.3相比,他们的手机也出现了类似的问题。虽然我们对于iOS系统更新引起耗电问题已毫不惊奇,但这次无疑会对苹果推出AppleMusic服务造成不良影响。
    苹果资讯】 2015-07-03
    浏览439次
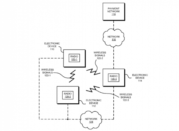
  • 苹果新专利:Apple Pay未来或支持P2P转账交易

    苹果新专利:Apple Pay未来或支持P2P转账交易
    据国外媒体报道,苹果专利显示,公司未来或考虑为ApplePay增加“点对点”(P2P)的转账功能,即两个苹果设备用户可以直接通过ApplePay服务完成支付与转账,整个操作将会是加密和免费的。美国专利商标局于周四正式批准了苹果该项专利。
    苹果资讯】 2015-07-03
    浏览193次
  • 下一代 iPhone 的 1200 万像素摄像头仍然凸起?

    下一代 iPhone 的 1200 万像素摄像头仍然凸起?
    苹果这两天新闻特别多:AppleMusic正式推出了、JonyIve正式出任首席设计官(CDO)一职了,但是一切都比不上被人戏称为“为期三个月的iPhone发布会”来得耀眼夺目。
    苹果资讯】 2015-07-03
    浏览299次
  • 太极越狱工具V2.2.1发布 修复漏洞 过程一波三折

    太极越狱工具V2.2.1发布 修复漏洞 过程一波三折
    昨天我们曾为大家报道了太极发布的iOS越狱工具(iOS8.1.3-iOS8.4)存在安全漏洞的消息,太极发布了的V2.2.1工具来修复这个问题,不过过程可谓一波三折。
    苹果资讯】 2015-07-03
    浏览317次
  • 越狱工具曝出漏洞 不过很快将进行更新

    越狱工具曝出漏洞 不过很快将进行更新
    现在国内的越狱团队对iOS破解的速度是越来越可观,但越狱加速的同时安全性又能否得到保证呢?我们知道设备一旦越狱,系统就会交出更多的权限给用户,或者是第三方的应用。在移动设备上不能谈绝对安全,只能谈相对安全,越狱更是可能会将相对安全的程度进一步降低。
    苹果资讯】 2015-07-02
    浏览269次

本周最热