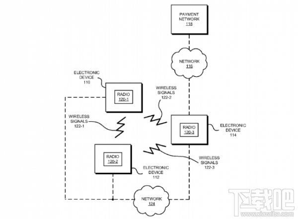
据国外媒体报道,苹果新专利显示,公司未来或考虑为Apple Pay增加“点对点”(P2P)的转账功能,即两个苹果设备用户可以直接通过Apple Pay服务完成支付与转账,整个操作将会是加密和免费的。 美国专利商标局于周四正式批准了苹果该项专利。


“具体来说,一个正在使用电子设备(如手机、平板或笔记本电脑等)的用户,将能够在金融交易操作中识别另一个(支持同技术的)电子设备,并通过提供加密支付数据包的方式完成整个交易。”苹果在专利描述中表示。
此外,苹果还在专利中具体提到,用作两个设备之间通讯的协议可以是NFC或者蓝牙。同时,进行交易的双方都必须在设备上完成生物信息验证后才能转账。
最近更新
无限暖暖兑换码大全!作为近期爆火的3D虚幻
人气排行
iPhone6s苹果A9处理器与之前A8处理器,到底强在哪里?
从iPhone4上A4处理器一路走来,苹果自产自销的A系列处理器性能得
苹果用户注意:iPhone自动弹iCloud登录窗需要重新输入密码,小心邮箱被黑
很多用户反映这几天出现几次:苹果iPhone自动弹iCloud登录窗情况
iPad Pro作画效果图赏,Apple Pencil带给你不一般的作画效果
iPadPro发布到上市,一直被拿来跟微软SurfacePro系列相比较。有人
更快更好用:微软正式发布Visio 2016
微软于今日正式发布了面向PC和Mac平台的Office2016,当时不少人都
注意啦!这些专业应用无法兼容macOS High Sierra
苹果在18日公布了一份技术支持文档,告知专业用户哪一版苹果专业
摄影发烧友看过来!iPhone终于可以拍RAW照片了!
摄影发烧友看过来!iPhone终于可以拍RAW照片了!现在,我们终于可
iPhone7真机图赏:亮光黑、黑色你更爱谁?
iphone7plus哪个颜色好看,为大家带来iPhone7真机图赏,来看看ip
苹果 OS X 10.11.3 正式版发布,包含大量错误修正
昨天我们才报道过iOS9.2.1正式版发布,苹果继而发布OSX10.11.3正
苹果64位设备iOS降级工具Prometheus正式放出:可刷回已关闭验证固件
苹果64位设备iOS降级工具Prometheus正式放出:可刷回已关闭验证固
苹果iPhone升级iOS9微信英文怎么改成中文
苹果iPhone升级iOS9之后英语不好的童鞋肯定傻眼了,微博、微信一