嗨格式数据恢复大师这款软件是一款功能非常实用的文件数据恢复工具,可以帮助用户恢复各种类型的数据,就比如用户在操作电脑的时候经常会删除文件,而一般文件删除之后会保存到回收站当中,在一定的时间之后才会自动清除掉,一些用户将回收站的文件全部清空之后发现还需要找回一些有用的文件,这样的话就可以通过嗨格式数据恢复大师这款软件的恢复误删除回收站功能来进行扫描恢复,那么接下来小编就跟大家分享一下具体的恢复操作方法吧,感兴趣的朋友不妨来看看。

1.首先第一步我们打开软件之后,在界面中找到误清空回收站恢复这个模块,点击之后进入到这个模块的操作界面。

2.接着我们在出现的界面中选择想要恢复的回收站删除数据之前所在的磁盘位置,选择之后点击右下角的开始扫描按钮。

3.点击这个开始扫描按钮之后,等待扫描完成,我们在界面的左边就可以通过查看文件类型来找到想要恢复的数据了。

4.另外我们可以切换到已删除这个模块,然后找到回收站文件夹,点击打开之后就可以看到很多的回收站文件,根据文件夹名称打开查找想要恢复的文件数据。

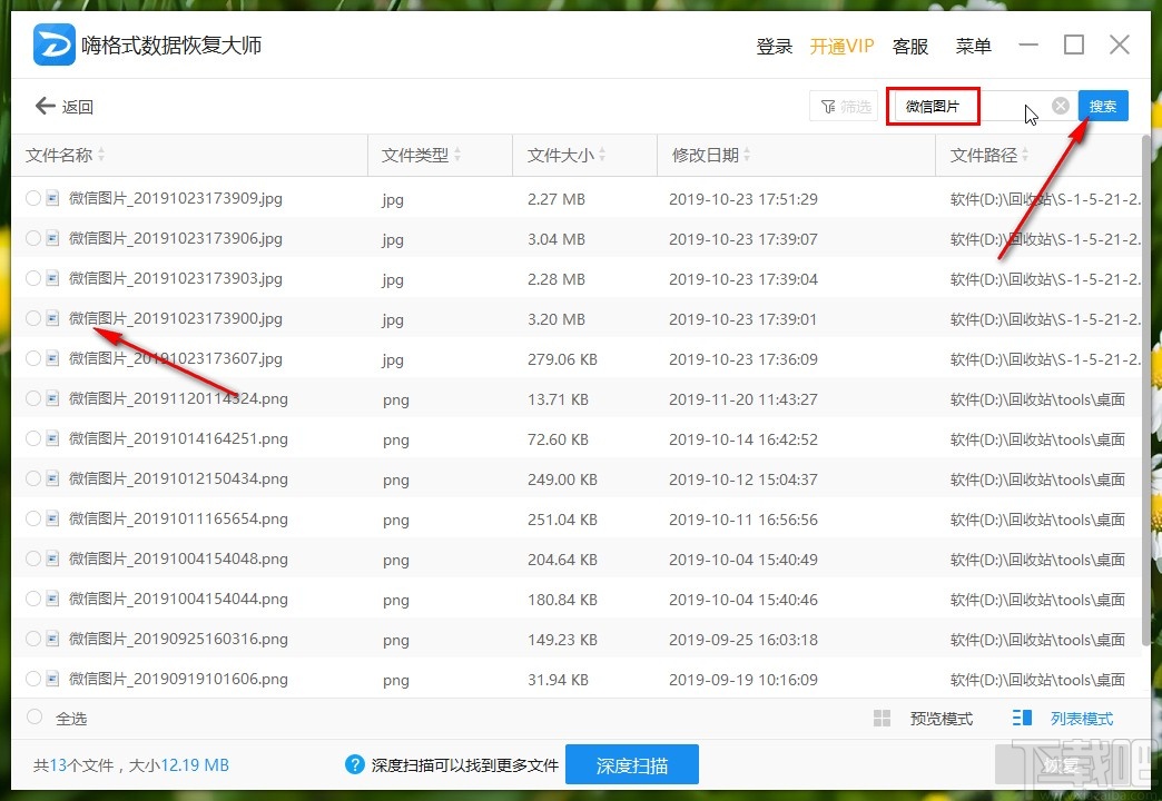
5.还有一种查找恢复文件的方式就是在界面的右上方找到搜索框,输入想要恢复的文件名称关键字,输入之后点击搜索按钮准备进行搜索。

6.点击搜索之后,就会搜索到匹配的一些文件,我们在这些文件中找到想要恢复的文件之后选中,点击右下角的恢复按钮开始恢复即可。

以上就是小编今天跟大家分享的使用嗨格式数据恢复大师这款软件的时候恢复回收站误删数据的具体操作方法,感兴趣的朋友不妨一起来看看这篇方法教程,希望能帮到大家。
最近更新
香哈菜谱如何开通会员
香哈菜谱开通会员的步骤如下:首先打开香哈
人气排行
易剪辑给视频添加马赛克的方法
易剪辑是一款功能强大的视频编辑软件,该软件体积小巧,但是给用
爱拍电脑端调整视频播放速度的方法
爱拍电脑端是一款功能齐全的视频编辑软件,该软件界面直观漂亮,
snapgene下载安装方法
snapgene是一款非常好用的分子生物学模拟软件,通过该软件我们可
ae2020导出视频的方法
ae这款软件的全称是AfterEffects,是一款世界著名的拥有影像合成
mouse rate checker下载安装方法
mouseratechecker是一款检测鼠标DPI和扫描率综合性能的软件,可以
packet tracer汉化操作方法
CiscoPacketTracer是一款思科模拟器,它是一款非常著名的图形界面
manycam下载使用方法
manycam是一款非常实用且功能强大的摄像头美化分割软件,它拥有非
ms8.0下载安装的方法
MaterialsStudio8.0是一款功能强大的材料模拟软件,模拟的内容包
blender设置中文的方法
blender是一款开源的跨平台全能三维动画制作软件,该软件功能十分
blender复制物体的方法
blender是一款高效实用的跨平台全能三维动画制作软件,该软件不仅