您所在的位置:下载吧  >  热点资讯  >  手机相关  >  苹果资讯

苹果资讯

  • 苹果iPhone 12采用三镜头,添3D传感和增强变焦 售价近2万

    苹果iPhone 12采用三镜头,添3D传感和增强变焦 售价近2万
    ?在苹果明年推出的新款iPhone当中,则很有可能命名为IPhone12,而IPhone12将会有三款产品,分别是IPhone12Plus、IPhone12和IPhone12Mini,而IPhone12Mini预计将不是OLED屏幕,但会保留刘海屏,屏幕的分辨率等参数也会略低,而IPhone12和Plus版本则主要是屏幕大小和分辨率上的差别。而几款iPhone当中,至少有一款是配备后置三摄像头的新款iPhone。
    苹果资讯】 2018-05-29
    浏览716次
  • 降频门之后苹果退钱!iPhone保外电池更换款项将退费394元

    降频门之后苹果退钱!iPhone保外电池更换款项将退费394元
    苹果公司又搞事情了!“降频门”之前换iPhone电池的注意了!苹果官网发布消息称iPhone保外电池更换款项将会退费394元,这笔RMB394的款项将以电子转账方式提供,或转到用于支付电池更换服务费用的信用卡上。但是需要满足条件可才退款394元。
    苹果资讯】 2018-05-24
    浏览563次
  • iOS 11.4第六个测试版发布:15F5079a

    iOS 11.4第六个测试版发布:15F5079a
    iOS11.4第六个测试版发布:15F5079a。大家都知道,距离上个测试版只过去了3天,现在苹果已经马不停蹄的发布了iOS11.4的最新测试版。我们一起看看吧。
    苹果资讯】 2018-05-18
    浏览624次
  • 2018iPhoneSE2渲染图外形爆光:全面屏+刘海屏

    2018iPhoneSE2渲染图外形爆光:全面屏+刘海屏
    iPhoneSE2会命名为iPhoneSE(2018),而另一位大神Onleaks则放出了iPhoneSE二代的CAD图,新机依然延续了前代的方正设计,并加入了时下流行的“刘海屏”。
    苹果资讯】 2018-05-14
    浏览532次
  • 苹果iPhone X Plus图片曝光,iPhone x plus上市时间在9月

    苹果iPhone X Plus图片曝光,iPhone x plus上市时间在9月
    2018年,苹果iPhoneXPlus或将迎来全新新设计和配置全面升级。目前有苹果iPhoneXPlus图片曝光,据说iPhonexplus上市时间在9月。那么苹果XPlus会给我们什么样的惊喜呢?请看下文消息介绍。
    苹果资讯】 2018-05-10
    浏览909次
  • iOS 11.4的第四个测试版:修复bug为主

    iOS 11.4的第四个测试版:修复bug为主
    iOS11.4的第四个测试版:修复bug为主。据悉,今天5月8日早些时候,苹果偷偷的放出了iOS11.4的第四个测试版,距离上个测试版放出,只有相隔了一周时间。我们一起看看本次更新推送了哪些内容吧。
    苹果资讯】 2018-05-08
    浏览479次
  • iOS 11.3系统验证通道关闭!一起坐等iOS 11.4

    iOS 11.3系统验证通道关闭!一起坐等iOS 11.4
    iOS11.3系统验证通道关闭!一起坐等iOS11.4吧。如果你升级至最新的iOS11.3.1系统,那么就老老实实的待在这个系统版本上吧,因为苹果已经关闭了系统降级认证。
    苹果资讯】 2018-05-03
    浏览562次
  • 苹果推出6.1英寸廉价iPhone X双卡双待曝光

    苹果推出6.1英寸廉价iPhone X双卡双待曝光
    苹果的传闻一直都不会缺席,每年在新机没发布的疲软期,就会出现“扔掉备用机吧,iPhone支持双卡双待!”、“果粉燃了,iPhone终于加入这个功能”,这些传闻虽然都很水,不过今年苹果推出6.1英寸廉价iPhoneX双卡双待的传闻又有了点可信度,不妨一起来看看。
    苹果资讯】 2018-04-24
    浏览522次
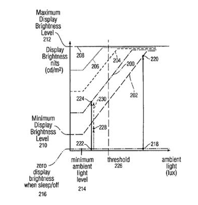
  • iPhone护眼专利:iPhone可自动调节屏幕亮度

    iPhone护眼专利:iPhone可自动调节屏幕亮度
    iPhone护眼专利:iPhone可自动调节屏幕亮度。据悉,美国商标专利局公布的材料显示,苹果已经申请了一项iPhone护眼专利,可以让用户避免在黑暗中遭受高亮屏幕的刺激。
    苹果资讯】 2018-04-23
    浏览649次
  • 2018iPhone概念图:6.1寸 18:9全面屏

    2018iPhone概念图:6.1寸 18:9全面屏
    现在,有国外设计师就率先晒出了所谓2018iPhone9的概念图,其配备了6.1英寸屏幕,由于采用了18:9的全面屏方案,整体机身宽度比iPhone8Plus略窄,而两者的体积也几乎差不多。
    苹果资讯】 2018-04-23
    浏览528次

本周最热